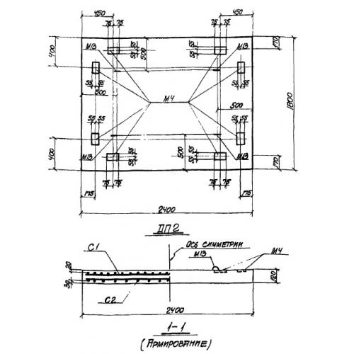
ДП 2
Характеристики изделия:
| Параметр | Значение |
|---|---|
| длина | 2400 мм |
| ширина | 1800 мм |
| высота | 120 мм |
| вес | 1300 кг |
| серия | ТП 905-7 |
Цена:
Рассчитать стоимостьДП 2 Плиты днища прямоугольные по проекту ТП 905-7.
| Параметр | Значение |
|---|---|
| длина | 2400 мм |
| ширина | 1800 мм |
| высота | 120 мм |
| вес | 1300 кг |
| серия | ТП 905-7 |
ДП 2 Плиты днища прямоугольные по проекту ТП 905-7.
