ФМ 27

Чертеж изделия:
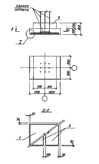
Характеристики изделия:
ПараметрЗначение
длина2400 мм
ширина2400 мм
высота900 мм
масса8500 кг
нормативный документСерия У 01-02/89

ФМ 27 Фундаменты монолитные по Серии У 01-02/89.