Ф 14

Чертеж изделия:
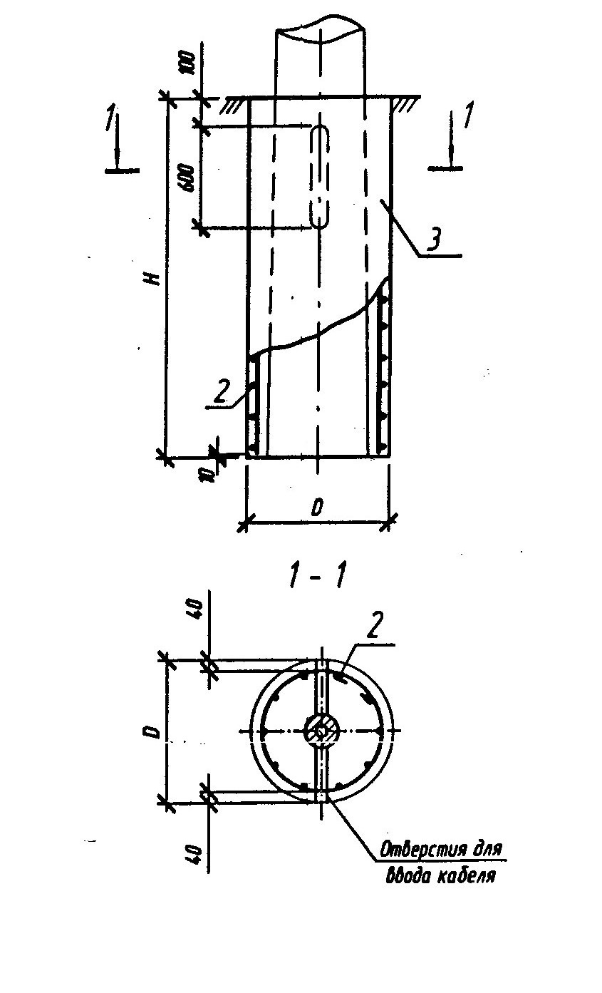
Характеристики изделия:
ПараметрЗначение
Высота Н2500 мм
Диаметр D1000 мм
Вес3875 кг
СерияБ3.507.1-3.04
Норма погрузки на машину (20тн)5 шт
Вагонная норма погрузки-

Фундамент Ф 14 изготавливается из тяжелого бетона и предназначен для установки стоек СКЦ согласно нормам серии Б3.507.1-3.04.