70СП-7

Чертеж изделия:
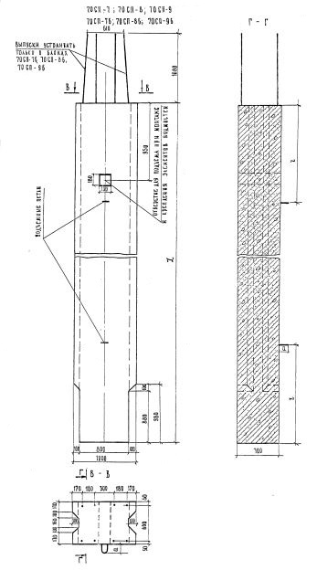
Характеристики изделия:
ПараметрЗначение
длина6880 мм
ширина1000 мм
высота850 мм
масса10800 кг
нормативный документСерия 3.503-23

70СП-7  Блоки стенок Серия 3.503-23.