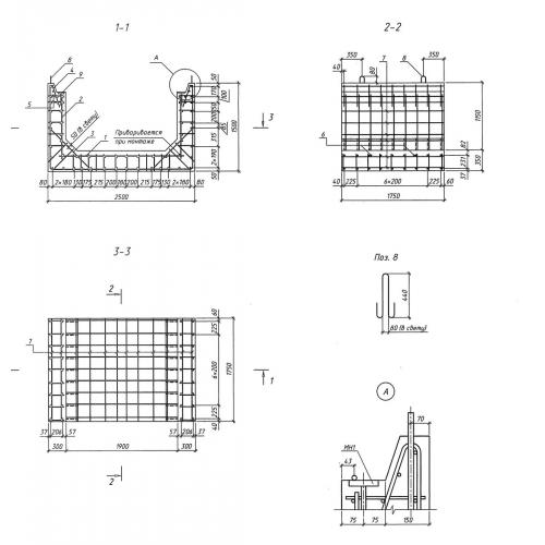
Л 1.175

Чертеж изделия:
Характеристики изделия:
ПараметрЗначение
длина1750 мм
ширина2500 мм
высота1500 мм
вес6800 кг
серия3.501.9-181.95

Л 1.175 Блоки лотков по серии 3.501.9-181.95.