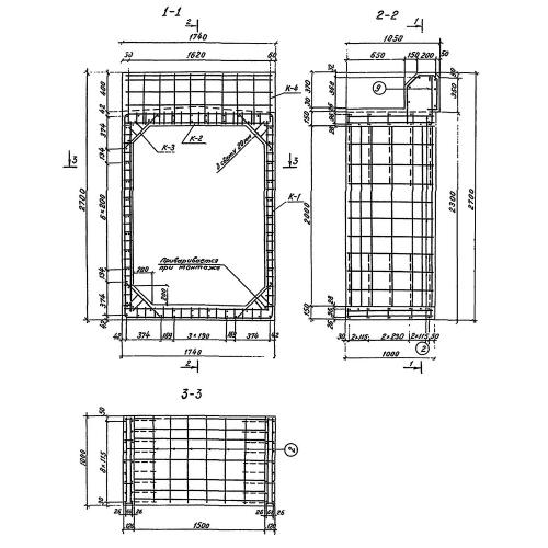
Блок №105

Чертеж изделия:
Характеристики изделия:
ПараметрЗначение
длина2700 мм
ширина1740 мм
высота1000 мм
вес3400 кг
серия3.501-104

Блок №105 Звенья оголовков по серии 3.501-104.