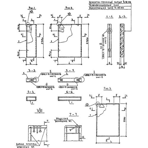
ПСД 15.30.20

Чертеж изделия:
Характеристики изделия:
ПараметрЗначение
длина1480 мм
ширина200 мм
высота2980 мм
вес1500 кг
серия1.832.1-9

ПСД 15.30.20 Панели стеновые двухслойные по серии 1.832.1-9.