1ПТ 35-30

Чертеж изделия:
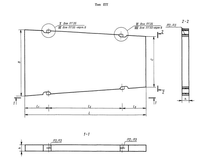
Характеристики изделия:
ПараметрЗначение
длина3500 мм
ширина2000/1500 мм
высота170 мм
масса2580 кг
нормативный документГОСТ 21924.2-84

ГОСТ 21924.2-84  ПЛИТЫ ЖЕЛЕЗОБЕТОННЫЕ С НЕНАПРЯГАЕМОЙ АРМАТУРОЙ ДЛЯ ПОКРЫТИЙ ГОРОДСКИХ ДОРОГ.

1ПТ 35-30 Плита трапецеидальная с ненапрягаемой арматурой для  постоянных дорог.